线下核销程序制作-微信公众号软件开发
文章来源:成都小火软件开发公司发布时间: 2024-07-31
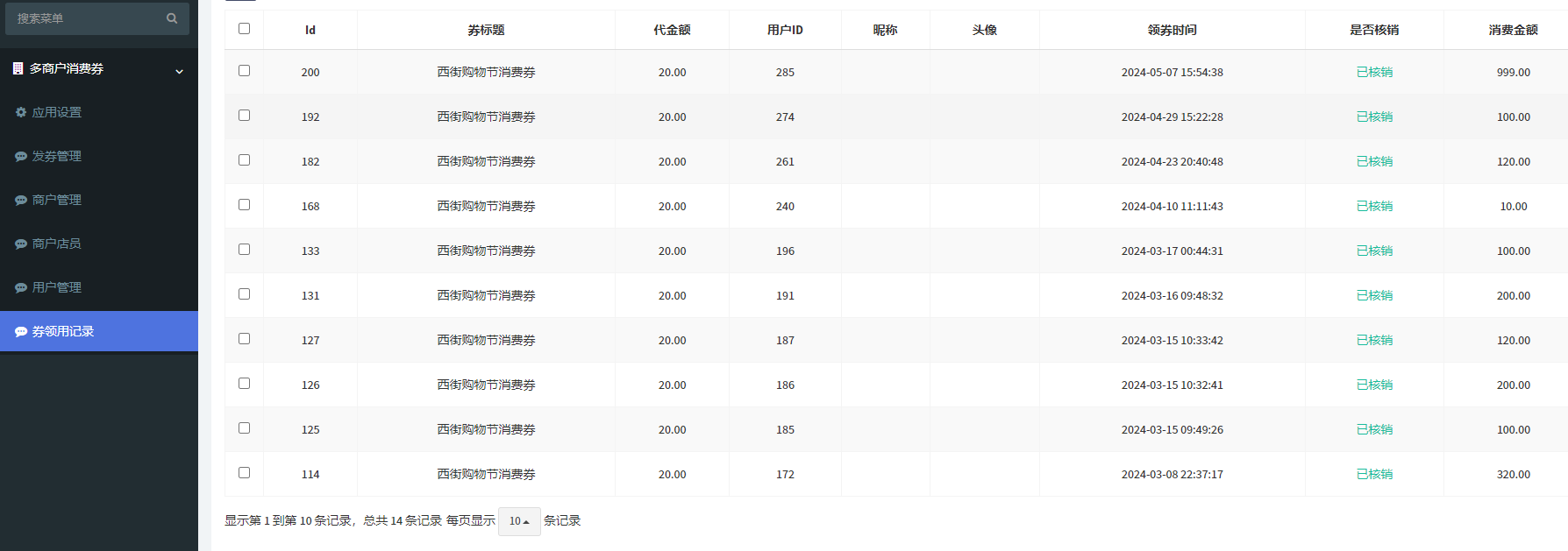
这款消费券软件支持多商户跨店统一消费,告别了原来只能到单一商户使用的场景。多商户的联动 营销,为用户带来了更多的便捷和实惠。商家利益共享的模式,一定是未来发展的趋势。多商家联动的模式,类似于NFT中的去中心化,把选择权交给用户,不再受商户的条件约束。用户在微信公众号领取了消费券,到店进行核销,整个流程结束。
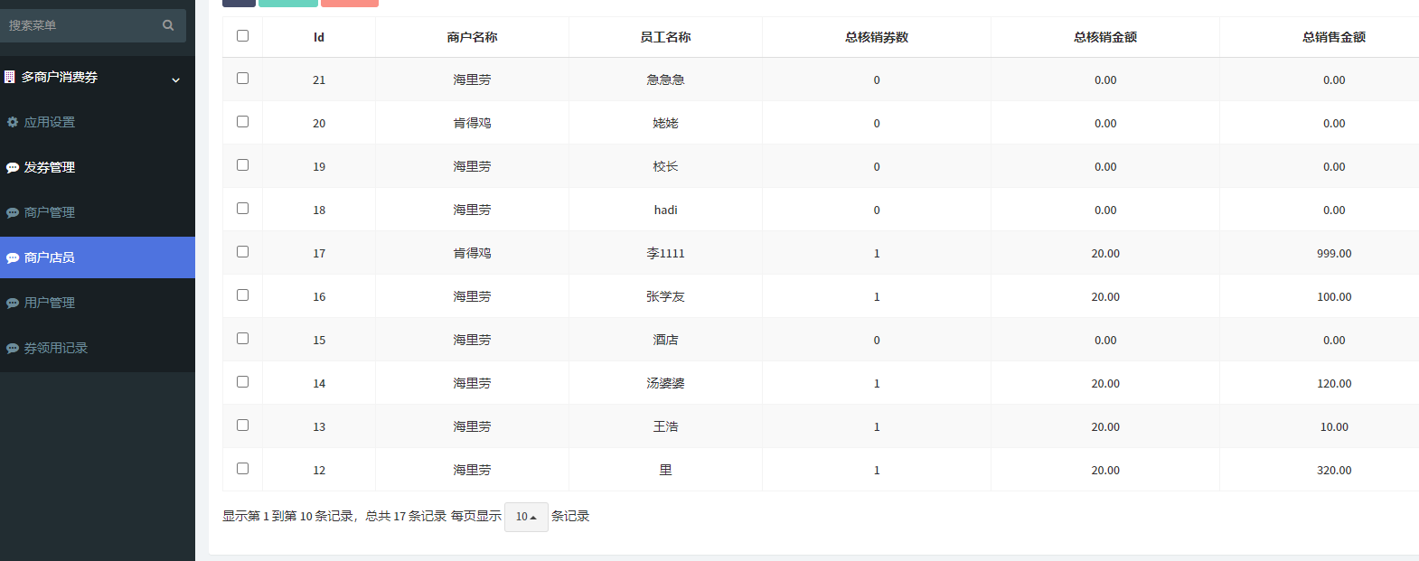
店员扫描自己对应店铺的二维码,填写资料认证之后,即可取得核销资格。后台有统计每位店员的核销情况,方便管理。

后台管理端:



文章来源网址://chinvav.com/archives/xitongkaifa01/1260,转载请注明出处!
精选案例
推荐文章
Core competence
高质量软件开发公司-成都痴女
多一套方案,多一份选择
联系痴女 项目经理,及时获取专属《项目方案》及开发报价
咨询相关问题或预约面谈,可以通过以下方式与我们联系
业务热线 19113551853
获取相关软件方案
19113551853
19113551853